Soorten stellingen

Legbordstelling

Je kan hier goederen van een laaggewicht op plaatsen

Draagarmstelling

Hier kan je langere goederen op plaaten

carrouselstelling

Hier kan je kleinere goederen op plaatsen bijvoorbeeld medicijnen

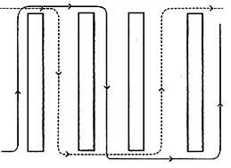
Gangsystemen

Tweegangensysteem

Een dunne gang en een brede gang

Hoofdgangensysteem smal pad

Gangensysteem met alleen maar smal paden

Maak jouw eigen website met JouwWeb